详解二层扩容方案 Metis 特性与竞争优劣势
本文来源:链闻ChainNews
撰文:Rasheed Saleuddin,Messari Hub 分析师
以太坊的使用成本越来越高。在过去的 18 个月中,以太坊的平均交易费用 上涨了约 50 倍,从 0.10 美元左右上涨到 5 美元左右。最近在第二季度的投机交易热潮中,平均费用飙升至近 70 美元,相比之下 5 美元的价格已经很是亲民。
从宏观角度来看,高收费并不一无是处。它代表用户对以太坊区块空间的需求。因此,交易成本的增加表明网络正在提供更大的效用和更高的价值。很多人承认,高 Gas 费用是确保高价值交易的必要成本。
但是费用最终会累加起来,且不断增加的成本将使一些用户和用例被挤出局。随着每天在以太坊上发布新的应用、网络利用率 接近饱和,以及 Eth2 扩容升级仍在开发中,以太坊的基础层似乎没有任何短期缓解措施。
这就是第 2 层( layer 2)扩容解决方案的用武之地。其目标是通过大幅降低费用来解决以太坊的拥堵问题,同时将对安全性的影响降至最低。
其中一种解决方案是 Optimistic Rollups ,在以太坊之上的一层上对一系列交易进行捆绑和排序,然后将它们作为一个交易发送到以太坊第 1 层主链。届时在以太坊之上运行的这一计算层(称为「layer 2」),预计其吞吐量 大约将是其底层链的 100 倍。

尽管 Optimistic Ethereum 和 Arbitrum 的 Arbitrum One 正紧锣密鼓准备公开推出(编者按:8 月 31 日 Arbitrum One 已经正式上线),因此吸引了最多的媒体篇幅和社区情绪,但它们只是几个即将完成的 Rollup 解决方案中的两个。
Metis 同样也是其中的一个解决方案。Metis 是 Optimism 的一个分叉,旨在目前更受欢迎的竞争对手之上进行更多改进。
Metis 寻求提供 Optimistic Rollups 的标准优势,例如低费用(<1 美元)、高速度(不到一秒)和以太坊级别的经济安全。但除此之外,还计划通过提供原生数据存储、能更快提款到 layer 1 以太坊主链,以及提高 DApp 提供商的可用性,来使自己的平台与众不同。
一、Rollups 和侧链
迄今为止,扩容战争一直由侧链和其他 layer 1 主导,Polygon 在 DeFi 和 Metaverse 众多火爆项目中最受青睐。Sushiswap、Aave 和 Curve 都扩容到 Polygon,SushiSwap 也部署在其他几个链上。
最热门链游 Axie Infinity 现在在一个名为 Ronin 的定制侧链上运行,使这一高人气「边玩边赚」游戏免受以太坊昂贵费用及其波动的影响。NBA Top Shot 和 Crypto Kitties 的开发机构 Dapper Labs 推出了一个独立的 layer 1,以避开以太坊令人生畏的费用。
DeFi 生态系统也开始在 Solana、Terra、币安智能链 (BSC) 和 Avalanche 等较新的网络上发芽生根。
每个扩容解决方案项目都直接从以太坊费用上涨中受益,它们最近增加的链上活动和总锁仓价值(TVL)清楚表明了这一点。

侧链和部分 layer 1 的最大问题是:它们可能具有不同的攻击表层(通常与它们 较低的去中心化程度 有关),以及低于以太坊水准的经济安全保证。 因此,任何将安全风险和去中心化牺牲降至最低的扩容解决方案,一直是以太坊社区的核心关注焦点。
以太坊创始人 Vitalik Buterin 于 2018 年 9 月 开始支持 将「Rollups」作为对以太坊扩及其安全性扩容到下一个增长周期的方式。
Rollups 是存在于 layer 1 网络之上一层的执行层。在将交易推送到其底层区块链之前,Rollups 在这一链下环境中对交易进行批处理和排序。由于公链基础层充当真相的仲裁者,Rollups 「继承了 layer 1 所建立的区块链安全属性」。Rollups 有两种形式:零知识 (ZK) Rollups 和 Optimistic Rollups。
ZK Rollups 采用复杂的证明,几乎即时确认 layer 2 到以太坊 layer 1 的最终状态。部分应用专用的 ZK Rollups 已经上线,包括 Loopring DEX、Immutable X (Gods Unchained)和衍生品协议 dYdX。
Optimistic Rollups 「乐观地」假设所有交易都是有效的。但是主链上的交易确认存在挑战期,以此作为预防欺诈机制。从 Optimistic 以太坊 DApp 中提取代币通常需要一些延迟(相对于 ZK Rollups 较慢),以准备应对任何挑战。
过去,Optimistic Rollups 与 ZK Rollups 的不同之处在于前者能够轻松支持与以太坊虚拟机(EVM)兼容的应用环境。EVM 兼容性使开发者能够以最少的改动从以太坊移植现有的 Solidity 合约。
但是,随着 Matter Labs 的 ZKSync 和 Starkware 接近在 ZK Rollups 中实现类似 EVM 计算的能力,Optimistic 和 ZK Rollups 可编程性之间的差距似乎正在缩小。
二、Metis Layer 2
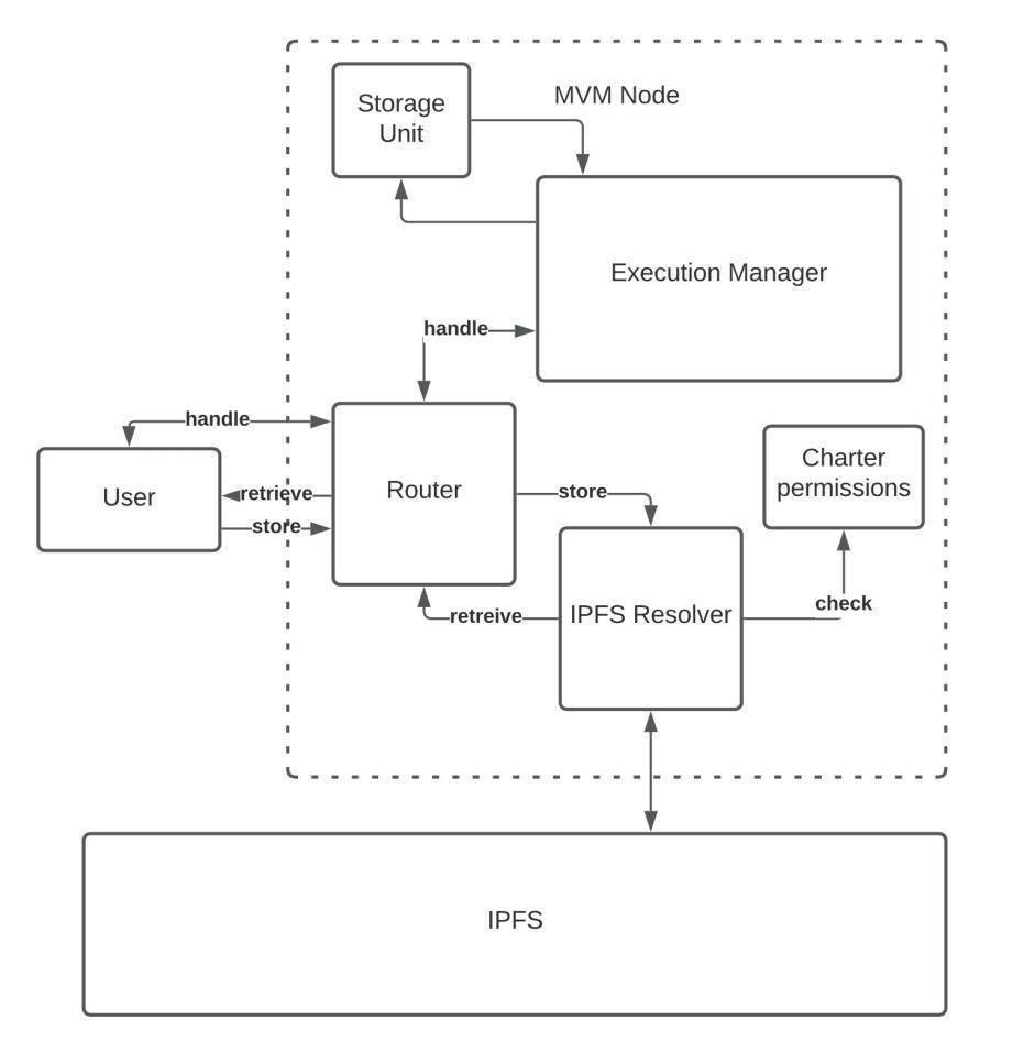
Metis 将成为未来几个月内推出的与 EVM 兼容的 Optimistic Rollups 家族成员之一。它使用 Optimism 的 Optimism Virtual (OVM) 的一个分叉,后者称为 Metis 虚拟机 (MVM)。 MVM 在功能和代码执行上镜像 OVM。
与其他 Optimistic Rollups 的设计一样,Metis 依赖称为「排序器」的网络参与者,在将 MVM 最终状态更改提交给以太坊之前,对交易进行排序和批处理。
不过,与其他项目不同的是,Metis 打算推出多个排序器,后者将汇集到被称为去中心化自治公司 (DAC) 的链上实体中。
Metis 每处理一个区块,协议都会从排序器 DAC 中随机选择一个新的排序器,后者负责将所有状态更改推送到以太坊。
Metis 的排序器池和选择过程与 Arbitrum 和 Optimism 最初使用的单序列器方法形成鲜明对比。不过, Arbitrum 和 Optimism 都讨论了转向更民主化的排序器选择过程的计划。
DAC 本质上是 DAO。Metis 将它们呈现为允许用户 协作 和执行某些网络操作的链上组织,例如运行一个排序器池(如上所述),或在 MVM 上运行一个新应用。
要想有资格确认一批交易,排序器必须质押高过动态保证金阈值(DBT)的 METIS 代币,以此作为一种遏制恶意行为和排序器渎职的机制。
用户还可以作为「游骑兵 /Ranger」参与监督排序器的活动。Ranger 团队对一系列区块进行采样并验证状态根,可以换取 METIS 代币奖励。成功的挑战(称为欺诈证明)会带来对排序器质押资产的削减。
这些被削减的资产将转移给发起争议流程的 Ranger。Rangers 反复挑战失败可能会导致网络禁令。

挑战流程是 Optimistic Rollups 至关重要的一环。 Optimistic Rollups 在设计上是「乐观的」,假设发布的交易中不存在欺诈性交易。
他们基本上使用「无罪推定」的方法,后者依赖于「制衡」系统来阻止欺诈,且确保以太坊仍然是真相的仲裁者。Metis 上的所有防欺诈检测都是通过 Rangers 监控排序器活动并对任何不当行为发起挑战来具体实施。
虽然 Metis 使用了 Optimism 的 OVM 的一个分叉,但在其中加入一些旨在改进原始设计的特性。这些功能包括:

1、IPFS 整合— 比使用辅助解决方案成本更便宜的数据存储选项
2、由于使用 Rangers,将状态更改发布到以太坊时的验证速度更快
3、Polis 中间件—为提升后的开发环境提供模板和支持,面向新进入加密领域的新手开发者
4、多执行层— Metis 将允许 DAC 启动新的 MVM 执行环境,以随着区块空间需求的增加扩展容量
5、许可环境—DAC 可以自定义对其 MVM 实例的访问控制
三、IPFS 整合
由于区块空间有限,以太坊和比特币上的数据存储成本很高。Metis 通过允许每个 DAC 运行单独的 MVM 实例来节省链上空间,这些实例具有使用 IPFS 的内置存储层。用户和开发者可以通过 MVM 的 IPFS 解析器访问来自 Metis 的内容。

来源:Metis 白皮书
以这种方式存储和访问数据有两个潜在的好处。首先,数据可以在 Metis 协议内加密,使用户可以存储机密信息。其次,IPFS 解析器使 Metis 应用能够直接访问和链接到所存储的数据,例如 NFT 的底层艺术作品或音乐。
四、Rangers 协助实现更快的验证速度
Optimistic Rollups 的主要弱点是向以太坊 layer 1 (甚至另一个 layer 2)提取资金等待确认的时间较长。通常以天为单位。
Arbitrum 预计提款可能需要三天左右时间,而 Optimism 的预期时间约为一周。这些等待时间对于欺诈检测过程至关重要,但它们也可能降低用户的灵活性,并在尝试将资金转移到以太坊或不同 layer 2 之间时制造出摩擦。
Metis 的多方欺诈检测系统可以将状态更改的确认时间从几天缩短到几个小时。如上所述,Metis 为每个区块随机选择一个新的排序器,并依赖一组 Rangers 来监控排序器活动。
排序器在经济上受到激励,以避免发出欺诈性的状态更改(一旦被抓住,其质押的 METIS 将损失殆尽),而 Rangers 会因正确报告欺诈企图而获得经济奖励。像 Optimisms 和 Arbitrum (刚发布时)这样的单排序系统需要几天的取款时间,Metis 团队则 表示,其多层制衡机制使 Metis 能够将取款时间缩短到大约 6 小时。
Metis 必须确保它在发布时拥有一套强大的排序器和 Rangers 队伍,以实现提款等待时间缩短至 6 小时的目标。
五、Polis
可能影响 layer 2 采用的一个关键因素是将现有合约从以太坊移植到新层所带来的挑战。
如果平台需要项目显著调整其现有合同,其吸引的应用可能寥寥,因为项目会避开需要代码库大修的开发环境。 相反,开发者会青睐熟悉的开发环境,这意味着需要最大限度地提高 EVM 的兼容性。
Metis 采用了与 EVM 兼容的设计。它试图通过其 Polis 中间件,进一步简化现有以太坊应用向 layer 2 的过渡。
Metis 团队打算通过为开发者提供用于部署和管理新应用的「低代码到无代码」模板,帮助 Polis 弥合从 Web2 到 Web3 的差距。
低费用和低开发学习曲线相结合,可以为实验和创新创造一个肥沃的环境,而这一土壤则是从头开始培育应用生态系统的关键要素。
虽然接纳 EVM 是一个巨大的增长爆点(并且越来越必要),但这种策略也意味着 Metis 将与其他所有与 EVM 兼容的 layer 1 网络和 layer 2 解决方案直接展开竞争。
使用不同的 VM 是一场赌博,因为激发开发者对新语言和工具集的兴趣是庞大且通常成本高昂的一项工作。
但是如果新的 VM 具备动能,这可能是一场值得冒险的赌博,因为开发者不能如此轻松迁移到更新、更出色的解决方案。差异化的产品套件可以产生粘性,防止开发者或流动性流失到竞争平台。
六、代币经济学
METIS 代币在 2021 年 5 月 13 日通过在 PAID 网络的 IDO 和 Gate.io 的 IEO 中首次公开分配。在以 5 美元的 IDO 价格推出后,METIS 迅速涨至 8 美元,之后在 5 美元附近盘整了三个月,又随着最近的市场复苏而升至新高。

METIS 代币在 Metis layer 2 平台中具有三种基本使用场景:
1、交易费—用户使用 METIS 支付交易费用
2、为 DAC 质押—DAC 贡献者必须质押 METIS 才能成为排序器、参与协作或启动新的 MVM 层
3、奖励— DACs 和 Rangers 分别因贡献欺诈挑战而被奖励 METIS 代币。这些参与者还可能因为违规行为而被罚没 METIS。
Metis 将 49.3%(或 493 万个 METIS)分配给社区项目(空投和社区参与激励)、去中心化交易所等市场(以获得充足的交易流动性)、早期贡献者(公开和私募投资者)、团队和 MetisLab 基金会。
团队、基金会和私募投资者所分配到的代币分别有 12-18 个月的分期退出时间表,这使得 METIS 早期的价格浮动相对较低。
Metis 已将剩余的 507 万个代币指定用于一项为期十年的激励计划,以奖励处理交易的网络参与者,如排序器、Rangers 和处理交易(Metis 称之为「交易挖矿」的流程)的社区成员。

METIS 的增发时间表将作为提供安全性和避免欺诈的激励措施。但代币经常被忽视的一个方面是它对项目创新率和采用率的影响。
代币激励,即使是具有通胀性,也可以引导生态系统和用户的增长,Polygon 的快速崛起清晰表明了这一点。Polygon 团队使用其 MATIC 供应奖励 Aave 和 Curve 协议上的验证者,之后又激励流动性提供者(LP)。
Layer 2 整体将是一个竞争激烈的格局,没有进入公众视线范围内的项目可以(并且可能会)利用能使用的一切优势竭尽所能展开竞争。鉴于 Arbitrum、Optimism 和 StarkWare 尚未分享有关原生代币的明确细节,某个 layer 2 项目拥有代币可能是一种竞争优势。
七、具体竞争格局
随着 Optimistic Ethereum (OE) 和 Arbitrum 即将全面启动,Metis 具体发展到哪个阶段?Metis 计划在 9 月推出一个公共测试网,并在 10 月发布主网。
Layer 2 竞争格局正在迅速演变。Uniswap v3 在 OE 上上线,并将部署到 Aribitrum。自 7 月下旬以来,经验丰富的 DeFi 资深项目 Synthetix 已经在 OE 上线。
Arbitrum 表示,它已授予「400 多个项目主网访问权限,其中数十个已成功完成部署」」。
随着 Optimism 和 Arbitrum 在应用采用方面取得领先,Metis 需要在主网上线后迅速填充其生态系统。 Uniswap v2 的一个分叉 MetisSwap 已在 Metis 的测试网上上线, WOWswap 已承诺添加杠杆代币交易协议。
虽然每个新网络都需要金融原语,但 Metis 的市场存在感与 Optimism 和 Arbitrum 上的开发活动相去甚远。
Metis 计划通过其 生态系统开发计划 来刺激其应用生态系统。开发者必须有一个正在进行的工作项目、一个成熟的社区或一个伟大的想法和团队,才能赢得生态系统资助。
Metis 将牵线搭桥介绍 VC、技术支持、市场和社区建设,并为成功申请者提供 METIS 代币奖励。
八、路线图
随着 Polis 中间件工具的持续发展,Metis 正专注于激励生态系统的发展,以便最终在 10 月推出主网。
Metis 已与 DeFi、基础设施和代币 launchpad 合作伙伴建立了关系,其中包括 Trustee Wallet、 OroPocket OpenDeFi、 PARSIQ、 PAID Network 等以及其它很多项目。
九、面对激烈竞争,前路依然坎坷
网络效应是链上交易量的主要推动因素,Optimism 和 Arbitrum 等知名竞争对手,以及 Solana 和 Terra 等拥有不断发展的生态系统的 Layer 1,已经有大型 DeFi 和元宇宙(Metaverse)项目在上面构建或正在进行中。
ZK Rollups 也从早期的 DApp 特定解决方案(如 Loopring 和 dYdX)快速演变进化。Immutable X 计划支持 第二款游戏,向着成为 Metaverse 生态系统的目标不断进步。zkSync 和 StarkWare 在测试网中已经有了与 EVM 兼容的 ZK-Rollups。
竞争仅是刚刚开始而已,Metis 必须兑现其承诺,通过其提议的多功能性和 UX 改进来改善 Optimistic Rollup 体验。如果 Metis 能够通过其代币激励计划成功培育出一个应用生态系统,可能会产生 layer 2 项目生存所必需的网络效应。
开发者和用户从 web2 到 web3 的转移已经在进行中,且未来只会加速,市场可能足够大到容纳每个项目。
但是,与最接近的竞争对手能拉开足够距离的项目和基础架构,将成为互联网下一个前沿领域的领军者。
















